
作者:维尔克斯 时间:2025-5-14 2:29:45
光波长转换元件采用的是铯锂硼酸盐晶体,经过加工后长度为10mm,并且按照能够产生Nd:YAG激光第四谐波的方向进行切割。在光学元件的红外透射光谱中,3589cm-1处的透射率(Ta)被用作衡量晶体中水杂质含量的指标,这一指标与偏振方向无关。透射率Ta的实际测量值至少为1%,不考虑晶体光学抛光表面的损失。还描述了波长转换装置、紫外激光照射装置、激光加工系统和制造光学波长转换元件的方法。原文标题:OPTICAL WAVELENGTH CONVERSION ELEMENT HAVINGA CESIUM-LITHIUM-BORATE CRYSTAL。
一、发明背景
1. 发明领域
本发明涉及光波长转换元件、光波长转换元件的制造方法、波长转换装置、紫外激光照射装置以及激光加工系统。
2. 背景讨论
在紫外激光器中,采用通过多次利用光波长转换元件的非线性光学效应,从发射红外区光的源激光器产生紫外线的方法。在该方法中,对于例如在最终阶段使用的光波长转换元件,本发明人开发的以化学组成为CsIiB6O10晶体(以下也称为“CLBO”)为代表的铯锂硼酸盐晶体是一种能够高效产生紫外线激光的晶体。据报道,CLBO晶体可以产生例如掺钕钇铝石榴石(Nd:Y3AI5O12,以下也称为Nd:YAG)激光的四次谐波(波长为266nm)和五次谐波(波长为213nm),以及波长为193nm(等于ArF准分子激光的发射波长)的光,并且转换效率很高。
图 1 是示出根据本发明的一个实施例的红外区域透射光谱的测量结果的图;
但是,由于CLBO晶体(CsIiB6O10晶体)具有潮解性,因此存在晶体光学表面与大气中的水分等发生反应的问题,这会导致质量下降或激光损坏,并且还会导致内部折射率发生变化。因此,已经开发出一种技术,在将晶体用作光波长转换元件之前,通过在100°C或更高的温度下加热(退火)对其进行预处理,或者在150°C的温度下加热使用(如JP31 15250B中所述,其全部内容通过引用并入本文中)。此外,还有以下建议。即,为了防止光波长转换元件在使用过程中发生劣化,将晶体置于真空气氛中(如JP 11 (1999)-271820A中所述,其全部内容通过引用并入本文),或者将使用的晶体置于用不含水分的气体密封的光学单元内(如JP 2003-295241 A或WO 2002/048786中所述,其全部内容通过引用并入本文)。所有这些技术都旨在防止由于CLBO晶体(CsIiB6O10晶体)的潮解而导致的元件劣化和激光损坏。
图2是示出根据本发明的一个实施例的紫外激光器的输出功率的测量结果的图;
另一方面,在使用CLBO晶体制作的光波长转换元件中,当产生的紫外线激光的功率增加时,其轻微的吸收会导致元件内部发热,从而形成不均匀的温度分布。这会导致折射率变化的分布,从而产生偏离波长转换条件(相位匹配条件)的区域。因此,为了解决上述防潮问题和相位不匹配区域的产生问题,有一种方法是将CLBO晶体加热到150°C后使用。但是,由于该方法难以避免自热效应,因此,在产生高输出紫外激光时,其输出功率往往低于不考虑热效应时获得的理论值。因此,为了提高紫外激光的输出功率,必须输入更高功率的激光,并且高度聚光。然而,这却是导致CLBO晶体损坏和劣化的一个因素,从而导致长期工作的可靠性下降,这是一个问题。晶体内部的激光束聚光部分附近处于容易发生“内部激光损伤”的环境,即由于紫外激光产生的热量而产生热裂纹。此外,由于CLBO晶体具有折射率值随发热而减小的特性,因此CLBO晶体表现出“热透镜效应”,即为了提高紫外激光转换效率而聚集的激光束直径不利地增大。此外,在150°C的状态下使用CLBO晶体需要时间来启动(激活)紫外激光照射装置,因此存在可操作性问题。因此,需要开发可在室温下使用的CLBO晶体。
图3是示出根据本发明的一个实施例的紫外激光器的输出功率的测量结果的图;
另一方面,已知CLBO晶体中含有的杂质水在红外光区域会引起吸收(如Y. Morimoto et al., J.Mater. Res.Vol. 16,pp.2082-2090(2001)或L. Kovacs et al..Opt. Mater. Vol. 24,pp.457-463(2003)所述,其全部内容通过引用并入本文中)。为此,本发明人开发了一种通过热处理减少CLBO内部水杂质的技术,以提高CLBO晶体内部激光损伤的阈值(如M. Nishioka et al., Jpn. J. Appl. PhysVl.44,pp.L699-L700(2005)所述,其全部内容通过引用并入本文中)。但是,用该技术生产的CLBO晶体存在一个问题,即在一定区域内,随着源激光输入功率的增加,产生的紫外激光的输出功率也会增加,但当输入功率超过一定值时,输出功率就会停止增加。因此,需要开发一种根据输入功率提高紫外激光输出功率的技术。这种室温使用和紫外激光输出的提高也是包括CLBO晶体在内的所有铯锂硼酸盐晶体需要解决的问题。
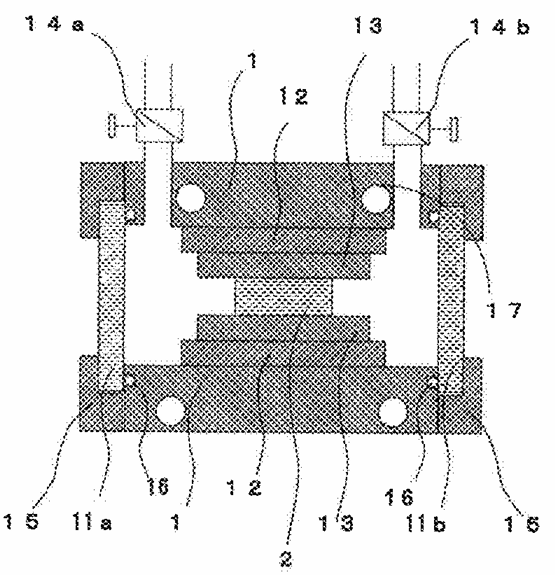
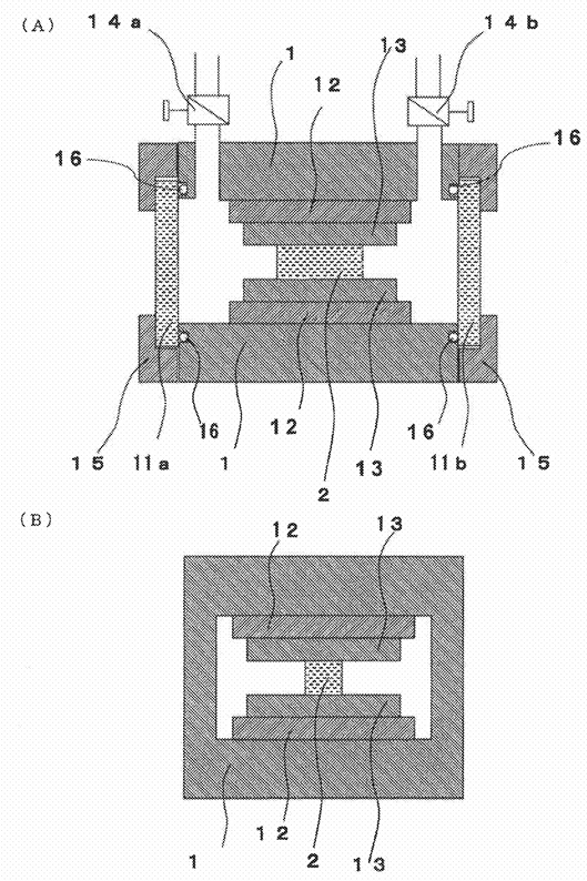
图 4A 示出了根据本发明的实施例的波长转换装置的一个例子的配置的纵向横截面图;
图 4B 示出了根据本发明的实施例的波长转换装置的一个例子的配置的横向横截面图;
二、发明内容
因此,本发明的目的之一在于提供一种新型的光波长转换元件,该元件可根据输入功率提高紫外激光的输出功率,并且可在室温下使用,该光波长转换元件的制造方法,以及使用该光波长转换元件的波长转换装置、紫外激光照射装置和激光加工系统。
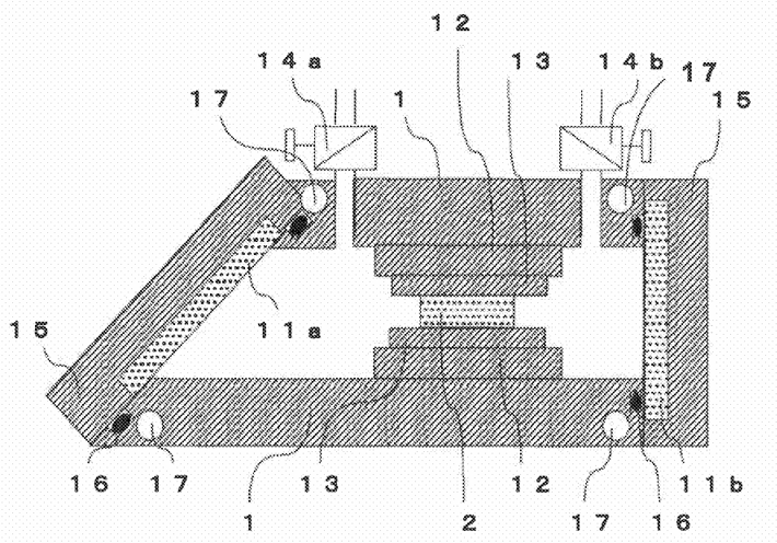
图5是示出根据本发明的实施例的波长转换装置的另一示例的配置的横截面图;
为了实现上述目的,本发明实施例中的光波长转换元件为包括铯锂硼酸盐晶体的光波长转换元件,其中,晶体中的水杂质含量为当将晶体加工成以允许产生Nd:YAG激光的第四谐波的方向切割的10mm长的光学元件时,以光学元件的红外透射光谱中3589cm处的透射率(Ta)为指标,且与偏振方向无关,其实际测量至少为1%,不考虑光学抛光表面的损失。
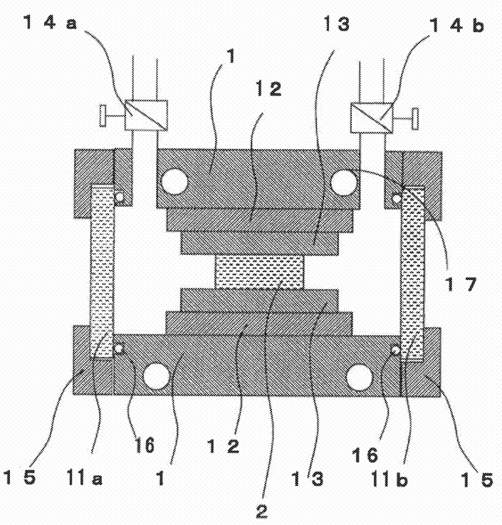
图6是示出根据本发明的实施例的波长转换装置的另一示例的配置的横截面图。
本发明实施例中的制造方法是制造本发明实施例中的光波长转换元件的方法,其中该方法包括:制备铯锂硼酸盐晶体的步骤、将晶体在100°C或更高的气氛中加热至少24小时的第一除湿步骤、以及将晶体在100°C或更高的干燥气体气氛中加热至少24小时的第二除湿步骤。本发明实施例中的光波长转换装置是通过将光传输通过光波长转换元件来转换光波长的波长转换装置,其中光波长转换元件是本发明实施例中的光波长转换元件。本发明实施例中的紫外激光照射装置,包括激光光源和波长转换装置,对激光光源发出的光的波长进行转换,产生紫外激光的紫外激光照射装置,其中,波长转换装置为本发明实施例中的波长转换装置。
本发明实施例中的激光加工系统是包括紫外激光照射装置的激光加工系统,其中紫外激光照射装置是本发明实施例中的紫外激光照射装置。如上所述,在本发明实施例中的光波长转换元件中,由于使用已除去水分到允许表现出透射特性(具体地,透射率(Ta)至少为1%)的程度的铯锂硼酸盐晶体,因此不会发生输出饱和现象,并且如后面的实施例中所述,可以根据输入功率提高输出功率,此外,即使在室温下,也可以表现出至少与在150°C下加热的传统晶体相当的性能。因此,使用本发明实施例中的光波长转换元件的波长转换装置、紫外线激光照射装置和激光处理系统具有高性能、长期运行的高可靠性和短上升时间的优异操作性的优点。此外,本发明实施例中的制造方法允许容易地制造本发明实施例中的光波长转换元件。但是,本发明实施例中的光波长转换元件可以通过上述制造方法以外的方法制造。此外,本发明实施例中的光波长转换元件可以在室温下使用,或者可以在使用时适当加热(例如,150°C)。在以下公开中,术语“水杂质”表示晶体中含有的杂质水。